PHONOLICHT die musizierende Ständerlampe ca. 1924
PONOPHON, So Sep 07 2025, 14:46
HERSTELLER: Firma „Phonolicht“ Karl Theodor Ellrich, Halle. a.S., Magdeburger Straße 57
MODELL: „Phonolicht“
SERIENNUMMER: 2132
GEHÃUSE: Ständer Holz, Form in Anlehnung an den Eiffelturm, gestrichen mit schwarzer Ölfarbe, goldfarben liniert. Gesamthöhe ca. 184cm, Höhe bis zum Plattenteller ca. 153cm, Durchmesser Lampenschirm ca. 65cm.
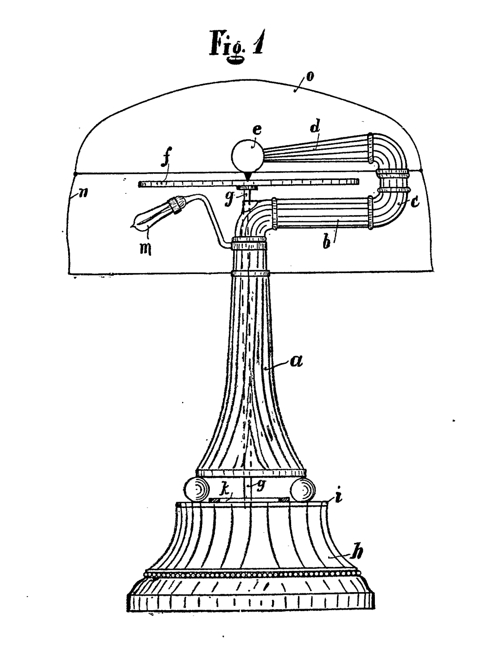
TRICHTER: Im Gehäuse integriert, im unteren Drittel mit Schallöffnungen nach allen 4 Seiten und eingebautem „Reflektor“.
MOTOR: 2-Feder Motor Stahlplatinen
SCHALLDOSE: Zeittypische Aluminium Schalldose mit Phonolicht Papieretikett.
Kürzlich konnte ich diese Ständerlampe für meine Sammlung erwerben. Laut der Verkäuferin im Worms wurde sie auf einem Dachboden in Speyer entdeckt.
Nach einiger Zuwendung ist sie genau heute fertig geworden und ich möchte nicht zögern sie zu präsentieren.
Durch die enorme Größe macht sie wirklich Eindruck. Aber auch der Klang ist recht ordentlich. Entsprechend der Hölzernen Tonführungen ist er weich, etwas leiser, aber interessant durch das Abstrahlen in alle Richtungen.
Er füllt den Raum aus und verändert sich wenig, wenn man sich im Raum bewegt. Nicht so wie bei der Richtwirkung durch einen Trichter.
Interessant ist auch, dass der Motor nicht elektrisch, sondern mit Federwerk läuft. Aus heutiger Sicht eher unpraktisch, damals bei vielleicht nicht so zuverlässigen Stromnetzten, durchaus auch ein Vorteil.
Alle mechanischen Teile sind Standard-Zukaufteile deutscher Hersteller.
Auf der Rückseite ist ein Schild mit der Aufschrift „Phonolicht Patent“. Eine Patentnummer ist aber nicht vorhanden.
Explizit ein Patent für diese Lampe habe ich auch nicht gefunden.
Karl Theodor Ellrich hatte ein Schweizer Patent Nr. 106673 vom 1. September 1924 auf eine Stehlampe mit Radioapparat mit ähnlichem Schirm. Es lautete „Zimmereinrichtungsstück mit drahtlosem Empfänger“.
Nach meinen Recherchen taucht die Ständerlampe erstmals im Dezember 1923 am Markt auf.
Dieses Werbe Inserat aus Österreich stammt vom 8. Dezember 1923 und wurde in der Wiener Neustädter Zeitung veröffentlicht.

(Quelle:
Link - Hier klicken )
Hier die Bilder, beim Anklicken werden sie größer und sind richtig gedreht.
Außerdem noch ein Link zu einem Video um die Lampe in Funktion zu sehen:
Link - Hier klicken










Dieses Inserat der Fa. Phonolicht, die auch Radio Apparate unter dem Namen „Elraphon“ herstellte stammt von 1924.

(Quelle:
Link - Hier klicken )
Re:
PHONOLICHT die musizierende Ständerlampe ca. 1924
DGAG, So Sep 07 2025, 19:20
Ich finde den Lampenfuß sehr elegant und der Schirm passt sehr gut dazu. Ist der Stoff tatsächlich noch original?! Die Geschichte Deiner wunderschönen Lampe geht sogar noch weiter zurück als Du recherchieren konntest.
Am 28. Juni 1921 ist die "Phonolicht" Ellrich & Helbig oHG in das Handelsregister in Halle/Saale eingetragen worden. Inhaber waren die Hallenser Kaufleute Karl Theodor Ellrich und Paul Helbig. Die von der Firma im Herbst 1921 gebaute Lampe hatte eine imposante Höhe von 1,90 m und einen Schirmdurchmesser von 70 cm.
Nachdem Helbig am 24. Januar 1922 ausschied, wurde Ellrich ab 28. März 1922 als alleiniger Gesellschafter eingetragen und die Firma entsprechend umbenannt.
Am 3. Juni 1922 hat Ellrich den Namen Phonolicht und ein hochdreieckiges Bild, wie es oben im Beitrag abgebildet ist, als Warenzeichen für seine "Musizierenden Lampen" beantragt. Es wurde am 13. Januar 1923 eingetragen.
Ellrich geriet zwei Jahre später in ernste Schwierigkeiten. Um den Konkurs abzuwenden, wurde seine Firma am 28. Juli 1924 unter Geschäftsaufsicht gestellt.
Es scheint eine Verbindung zur Firma Elektro-Phonolicht Wilhelm Schoetschel, eingetragen am 7. Februar 1925 in Halle/Saale, gegeben zu haben. Hat der Kaufmann Schoetschel das Geschäft von Ellrich übernommen?
Im Landesarchiv Sachsen-Anhalt gibt es Akten von 1923 -29 zu Phonolicht Ellrich & Helbig, Karl Theodor Ellrich und Elektrophonolicht.
Aktenzeichen: C 110 Halle, Nr. 910, Bl. 54-95. Benutzungsort: Merseburg
Re:
PHONOLICHT die musizierende Ständerlampe ca. 1924
DGAG, So Sep 07 2025, 20:01
Meiner Meinung nach geht die Erfindung des Phonolichts auf Ernst Bitzmann in Halle/Saale zurück. Die Kaufleute Ellrich und Helbig haben offenbar die Rechte an seinen Patenten/Gebrauchsmustern erworben und für deren Nutzung eine offene Handelsgesellschaft gegründet. Bitzmann hatte bereits am 11. Oktober 1920 ein Patent darauf in Deutschland angemeldet. Kann sein, dass es nie eingetragen wurde. Das Gebrauchsmuster für eine "Sprechmaschine in Form einer Stehlampe" wurde ihm jedoch am 3. März 1921 erteilt.
Weiterhin beantragte Bitzmann am 1. Juli 1921 ein Patent in England, eingetragen am 13. April 1922 und eins am 14. Juni 1921 in der Schweiz, eingetragen am 1, März 1923 (siehe unten).
Re:
PHONOLICHT die musizierende Ständerlampe ca. 1924
PONOPHON, Mo Sep 08 2025, 09:40
Lieber Stephan,
vielen Dank für deine Nachforschungen!
Auf das Bitzmann Patent bin ich auch schon gestoßen, habe es aber nicht erwähnt, weil mir der Bezug fehlte. Ehrlich gesagt bin darüber gestolpert bin, dass Herr Bitzmann auch aus Halle a. S. war.
Ich bin völlig Deiner Meinung, dass es sich um dieses Patent handelt, nach dem die Lampe hergestellt wurde. Die bogenförmige Einmündung des Schallrohres unter dem Tonarm in den Trichter entspricht genau dem, wie meine Lampe ausgeführt wurde. Das ist nur auf den Fotos nicht zu sehen, da sich diese Konstruktion im Inneren des hölzernen Zylinders unter dem Motor-Gehäuse befindet. Die Unterbringung des Motors oben wurde ebenfalls im Patent bereits beschrienen und der Schallaustritt unten im Sockel mit dem Reflektor ist auch wie im Patent.
Das hat mich wirklich weitergebracht.
Leider hat der Lampenschirm die Jahre auf dem Dachboden nicht überlebt. Der Bezugsstoff und der Futterstoff sind aber aus zeitgenössischem Material.
Das ausgeprägte Krakele der Ölfarbe dürfte auch der Dachboden Lagerung geschuldet sein. Ich kenne diese Oberfläche von den Holz-maserierten Weichholzmöbeln. Diese entwickeln das Krakele bei Sonneneinstrahlung, oder eben auf dem heißen Dachboden. Es stört mich aber nicht weiter, sondern fühlt sich sogar gut an, wie ein Leder-Bezug.
Re:
PHONOLICHT die musizierende Ständerlampe ca. 1924
DGAG, Fr Sep 12 2025, 18:35
Es ist immer ein schlagendes Argument, wenn sich konstruktive Details in Patenten wiederfinden lassen. Auch wenn die "Sprechende Lampe" bereits Ende 1918 in den USA auf den Markt kam und sich bald zahlreiche Konkurrenten den Kuchen teilten, hat jede dieser Konstruktionen irgendetwas eigenes. Es ist auch kein Wunder, dass Europa nach dem 1. Weltkrieg etwas nachzügelte, bevor Luxusgüter wie das "Phonolicht" wieder eine Chance hatten.
Das Stoffmaterial des Lampenschirms ist in Eigenschaften und Farbe wirklich vorzüglich gewählt und die Verarbeitung ist genauso gut. Kein Wunder, dass ich mir nicht sicher war und deshalb nachfragen musste. Da waren ebenfalls Profis am Werk, oder?
Das Krakelee ist überhaupt nicht störend. Ich finde es im Gegenteil sehr wichtig, das es noch vorhanden ist, wie bei einem alten Gemälde. Sehr schön und prima erhalten sind zudem die goldfarbenen Zierstreifen, welche die elegante Form hervorheben. Mir ist aufgefallen, dass einige im Netz zu findenden "Phonolichter" holzsichtig sind. Kann sein, dass sie damals ab Werk so angeboten wurden, aber die Möglichkeit des späteren Abbeizens ist nicht von der Hand zu weisen. Man müsste das mittels des Vorhandenseins bzw. des Zustands der Warenzeichen überprüfen.
Re:
PHONOLICHT die musizierende Ständerlampe ca. 1924
PONOPHON, Mo Sep 15 2025, 09:47
Ich kenne die Bilder im Internet von den vergleichbaren Lampen. Es gab eine 2. Version, bei der die Leuchter-Arme seitlich am Gehäuse des Motors (nicht an der Bodenplatte des Motor- Gehäuses) angebracht waren und die Nadelschüsseln daher nur Viertelkreise waren. Am Sockel war bei dieser Version zur Verzierung zusätzlich ein Perlstab angebracht. Vermutlich gab es die Lampe nicht nur schwarz, sondern auch in Holzfarben. Schwarz hatte sich vor allem durch den Jugendstil etabliert, war aber sicher nicht jedermanns Geschmack.
Die schwarze Version finde ich am interessantesten, sie passt auch gut zu dem Schrankgrammophon am Foto.

Meine Restaurierungen mache ich alle selbst, an dem Schirm habe ich tagelang von Hand genäht. Den Volant, habe ich aber nur zugeschnitten und aufgenäht, zusammengenäht und gezogen hat ihn meine Frau, die darin tatsächlich Profi ist. Immer schon sammle ich alte Materialien, von denen ich denke, sie für Restaurierungen einmal gebrauchen zu können. Sowohl Futterstoff als auch Bezugsstoff hatten ich vorrätig, aber von beiden nur so viel, dass es gerade mal so gereicht hat. Die Segmente wurden weitgehend einzeln zugeschnitten und aufgenäht, sonst hätte das Material nicht gereicht.
Re:
PHONOLICHT die musizierende Ständerlampe ca. 1924
PONOPHON, Di Sep 16 2025, 10:02
Hier ist eines der wenigen Bilder abgesehen des dreieckigen Markenzeichens, dass die ganze Phonolicht Lampe zeigt.

Es stammt aus der Dortmunder Zeitung vom 03.01.1923
Quelle: Deutsches Zeitungsportal - Deutsche Digitale Bibliothek
Dort sind sehr viele Inserate zur Lampe zu finden, eine private Kleinanzeige vom 22.05.1929 aus der Tageszeitung für das Oberamt Biberach und die Stadtgemeinde Biberach enthält auch den Hinweis auf einen roten Lampenschirm.

Aus der gleichen Quelle stammt dieses Inserat von 1921

Re:
PHONOLICHT die musizierende Ständerlampe ca. 1924
ArthurPreil, Do Sep 18 2025, 15:54
Eine Anfrage beim Landesarchiv in Merseburg brachte neue Informationen, erstaunlicherweise ist auch alles digital einsehbar:
Blatt 54 - 96 (handschriftliche Nummerierung oben rechts, nicht Nummer vom Scan)
Link - Hier klickenSämtliche Modellvarianten sind aufgeführt in den Beständen, ebenso die Orte der Patente und Inventarlisten 1923 und 1924.
Hier ein kleiner Auszug:










Re:
PHONOLICHT die musizierende Ständerlampe ca. 1924
PONOPHON, Do Sep 18 2025, 19:07
Hallo Christopher,
vielen Dank für diese Recherche und deinen Beitrag. Ich bin hellauf begeistert!
Das bringt soviel Licht hinter die Geschichte dieser Firma, die Modell Varianten und Ausstattungen.
Eine unglaubliche Quelle. Rührend ist es die Inventurlisten zu lesen.
Und so aufschlussreich, wie die Werkstätten, wohl nicht nur dieser Fabrik, oder besser Manufaktur ausgestattet waren.
Außerdem bin ich nun über die Stoffauswahl für meinen Lampenschirm besonders glücklich, wo mir doch der Zufall vor etwa 30 Jahren diesen rostorangen Baumwollbatist in die Hände gespielt hat.
Ich habe alle Dokumente heruntergeladen, echt toll, da werde ich mich noch lange damit befassen.